- A.16 800元
- B.12 600元
- C.8 400元
- D.4 200元
- A.甲方案
- B.乙方案
- C.丙方案
- D.无法判断
- A.NPV≥O
- B.NPV=0
- C.NPV>0
- D.NPV≤O
- A.大型建设项目
- B.中型建设项目
- C.小型建设项目
- D.大中型建设项目
- A.NPV最大
- B.NPVR最大
- C.NPVR最小
- D.NPV最小
- A.投资前期
- B.建设时期
- C.营利期
- D.生产经营时期
- A.盈利能力
- B.偿债能力
- C.运营能力
- D.负债能力
- A.大修理停用的设备
- B.未使用的机械设备
- C.以经营租赁方式租入的固定资产
- D.已提完折旧的机械设备
- A.240台
- B.300台
- C.360台
- D.380台
- A.2.355
- B.5.235
- C.3.255
- D.5.325
- A.10V
- B.6V
- C.4V
- D.OV
- A.不变
- B.减少到额定值的81%
- C.减小到额定值的90%
- D.减小到额定值的50%
- A.曲线a
- B.曲线b
- C.曲线c
- D.曲线d
- A.基本保持不变
- B.随负载增大而增大
- C.随负载增大而减小
- D.无法确定
- A.保护接零(中)线
- B.保护接地
- C.保护接中线或保护接地
- D.无法实现保护作用
- A.ω<SUB>0</SUB><SUP>2</SUP>=LC
- B.<IMG src="//img1.yqda.net/question-name/a1/c2dca85fddd4c38ecbcc341968a22c.jpg">
- C.<IMG src="//img1.yqda.net/question-name/75/55bc112f12268a1285cc755f2947c5.jpg">
- D.ω<SUB>0</SUB>=LC
- A.55 mA
- B.-55 mA
- C.1 mA
- D.-1 mA
- A.超前于i
- B.滞后于i
- C.与i反相
- D.与i同相
- A.X<SUB>c</SUB>=X<SUB>L</SUB>
- B.X<SUB>c</SUB>=2X<SUB>L</SUB>
- C.<IMG src="//img1.yqda.net/question-name/fa/94d86c907a823839954ca2bccc0c91.jpg">
- D.<IMG src="//img1.yqda.net/question-name/c0/e986cccabc3a8c191fe52de4e95ab0.jpg">
- A.18V
- B.2V
- C.14V
- D.-14V
- A.2∠120°A
- B.50∠120°A
- C.2∠-60°A
- D.50∠-60°A
- A.越高
- B.越低
- C.不能确定
- D.始终为零
- A.1 4 7 2 5 8 3 6 9
- B.1 2 3 4 5 6 7 8 9
- C.9 6 1 8 5 2 7 4 3
- D.9 8 7 6 5 4 3 2 1
- A.2.61
- B.0.2
- C.0.261
- D.0
- A.T
- B.F
- C.不确定
- D.无输出
- A.PARAMETER(PI=3.14) PI=0.5
- B.INTEGER P PARAMETER(P=5)
- C.PARAMETER(P1=3.14) READ*,PI
- D.PARAMETER(P=5) INTEGER P
- A.不能再被删除了
- B.可以恢复到任意指定位置
- C.可以直接编辑修改
- D.可以真正删除
- A.控制计算机的运行
- B.算术运算和逻辑运算
- C.分析指令并执行
- D.负责存取存储器中的数据
- A.187
- B.188
- C.185
- D.186
- A.内码(机内码)
- B.交换码
- C.字型码
- D.输入码
- A.7.38
- B.9.03
- C.12.29
- D.11.66
- 33
-
潜水井是指( )。
- A.从无自由水面的两不透水层间取水的井
- B.从有自由水面的无压含水层中所开凿的井
- C.井底直达不透水层的井
- D.井底未达不透水层的井
- A.运算器
- B.控制器
- C.数学协处理器
- D.中央处理器
- A.1/2
- B.1倍
- C.3/2倍
- D.2倍
- A.沿程水头损失
- B.流动速度
- C.内摩擦力
- D.沿程阻力系数
- A.平均速度 v>50m/s
- B.雷诺数 Re<SUB>d</SUB>=5×10<SUP>5</SUP>
- C.雷诺数 Re<SUB>d</SUB>=2300
- D.相对糙度 K/d>0.01
- A.10 m
- B.15 m
- C.20 m
- D.25 m
- A.绕流阻力可分为摩擦阻力和压差阻力
- B.绕流阻力可分为压差阻力和形状阻力
- C.摩擦阻力是物面上切应力在来流方向的总和
- D.形状阻力是物面上压应力在来流方向的总和
- A.上临界雷诺数
- B.上临界雷诺数和下临界雷诺数的平均值
- C.下临界雷诺数
- D.都不是
- A.流动方向应从高处流向低处
- B.流动方向应从速度大的地方流向速度小的地方
- C.流动方向应从压强大的地方流向压强小的地方
- D.流动方向应从能量大的地方流向能量小的地方
- A.p<SUB>γ</SUB>=40 kp<SUB>a</SUB>,p<SUB>abs</SUB>=98 kp<SUB>a</SUB>
- B.p<SUB>γ</SUB>=40 kp<SUB>a</SUB>,p<SUB>abs</SUB>=138 kp<SUB>a</SUB>
- C.p<SUB>γ</SUB>=138 kp<SUB>a</SUB>,p<SUB>abs</SUB>=40 kp<SUB>a</SUB>
- D.p<SUB>γ</SUB>=98 kp<SUB>a</SUB>,p<SUB>abs</SUB>=40 kp<SUB>a</SUB>
- A.90.16
- B.7.84
- C.78.4
- D.9.2
- A.均质流体
- B.不可压缩流体
- C.不计黏性的流体
- D.不考虑重力的流体
- A.各向同性和各向异性的线弹性体
- B.各向同性和各向异性的线弹性体和非弹性体
- C.各向异性的线弹性体
- D.各向同性的线弹性体
- A.a点
- B.b点
- C.c点
- D.d点
- A.<IMG src="//img1.yqda.net/question-name/c2/2f8250eabbca431d82ec44e78a69ba.jpg">
- B.<IMG src="//img1.yqda.net/question-name/0c/0c1808e26005ed808345aa6e23efdb.jpg">
- C.<IMG src="//img1.yqda.net/question-name/43/ee73b9ca7288738589d3d84333bb91.jpg">
- D.<IMG src="//img1.yqda.net/question-name/ce/a77098a8087ed5bf19bf811081114c.jpg">
- A.<IMG src="//img1.yqda.net/question-name/b3/4dae45a996aea7eedf0de7d485a69e.jpg">
- B.<IMG src="//img1.yqda.net/question-name/9b/c6613242a41d5acd65288f575ed247.jpg">
- C.<IMG src="//img1.yqda.net/question-name/f9/23610a6264edb0c24a0e2fad3d2b26.jpg">
- D.<IMG src="//img1.yqda.net/question-name/e5/3d0ad9eaa594bfd1542d6d74f84a60.jpg">
- A.<IMG src="//img1.yqda.net/question-name/9a/57ee7f9306604314c1e0cefeea3725.jpg">
- B.<IMG src="//img1.yqda.net/question-name/f7/0c8c7d255a918b7708df2bc2573f4b.jpg">
- C.<IMG src="//img1.yqda.net/question-name/7f/4209b32e80ca01d5cb8362e53f435d.jpg">
- D.<IMG src="//img1.yqda.net/question-name/a3/ed124f05ed757fe7869422d2d95099.jpg">
- A.2
- B.4
- C.<img src="//img1.yqda.net/question-name/31/078a13c6f099d8f5dfc3d9287be1cd.jpg">
- D.<img src="//img1.yqda.net/question-name/93/cc6837273ec05220b90719511af5bc.jpg">
- A.168 MPa
- B.198 MPa
- C.200 MPa
- D.336 MPa
- A.<IMG src="//img1.yqda.net/question-name/0d/e36c3f71501c8e388b6b696cf631ea.jpg">
- B.<IMG src="//img1.yqda.net/question-name/52/9d564bf28d3006c738364b813a9fd5.jpg">
- C.<IMG src="//img1.yqda.net/question-name/90/7d9d56ec406e576876c85967867e48.jpg">
- D.<IMG src="//img1.yqda.net/question-name/fb/f5d2ff56f2f4dbd82f4d64feab1732.jpg">
- A.<IMG src="//img1.yqda.net/question-name/90/638e711a57ecae70ab08b24f5b3be7.jpg">
- B.<IMG src="//img1.yqda.net/question-name/bb/6fb5cc4253d5be9c71de11d3a11b25.jpg">
- C.<IMG src="//img1.yqda.net/question-name/6c/6a2c07a36d25acbf96cfdc1de1a99a.jpg">
- D.<IMG src="//img1.yqda.net/question-name/26/6593597d954a3c46de3b6241560e24.jpg">
- 54
-
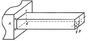
图示螺钉受拉力F作用,螺钉头直径D=40 mm,h=12 mm,螺钉杆直径d=20 mm,[τ]= 60 MPa,[σbs]=200 MPa,[σ]=160 MPa,则螺钉可承受的最大拉力F为( )。

- A.45 kN
- B.50 kN
- C.90 kN
- D.188.5 kN
- A.左端
- B.右端
- C.轴的任意处
- D.轮B与C之间
- A.<IMG src="//img1.yqda.net/question-name/33/738e5788f3c69239ad6dd5af60f699.jpg">
- B.<IMG src="//img1.yqda.net/question-name/75/fd692af2e55285f31975c1d3861b7b.jpg">
- C.<IMG src="//img1.yqda.net/question-name/ce/4bb03892a9a7e597b219c3672ed9a2.jpg">
- D.<IMG src="//img1.yqda.net/question-name/38/ffdf8dfe95f08f46ec015db1afb020.jpg">
- A.△L<SUB>2</SUB>=△L<SUB>1</SUB>,ε<SUB>2</SUB>=ε<SUB>1</SUB>
- B.△L<SUB>2</SUB>=2△L<SUB>1</SUB>,ε<SUB>2</SUB>=ε<SUB>1</SUB>
- C.△L<SUB>2</SUB>=2△L<SUB>1</SUB>,ε<SUB>2</SUB>=2ε<SUB>1</SUB>
- D.<IMG src="//img1.yqda.net/question-name/16/a0a4a83d26d7c06e543bb38e5f201a.jpg">
- A.A<SUB>Q</SUB>=dc,A<SUB>b</SUB>s=bc
- B.A<SUB>Q</SUB>=cd,A<SUB>b</SUB>s=(a+b)c
- C.A<SUB>Q</SUB>=bc,A<SUB>b</SUB>s=dc
- D.A<SUB>Q</SUB>=bd,A<SUB>b</SUB>s=bc
- A.<IMG src="//img1.yqda.net/question-name/3b/5ee54b19e8433217177b3d1ccd78e1.jpg">
- B.<IMG src="//img1.yqda.net/question-name/2d/85bf5323cfe1740b225a5ac1c63d58.jpg">
- C.<IMG src="//img1.yqda.net/question-name/11/80436deb043c0ca55f5a7befb53023.jpg">
- D.<IMG src="//img1.yqda.net/question-name/6a/844175bec2b3b20c3a8bce32c695f8.jpg">
- A.Fcotθ
- B.<IMG src="//img1.yqda.net/question-name/6a/4aa34fff1654e31924b45d2eaea3f6.jpg">
- C.<IMG src="//img1.yqda.net/question-name/7d/9995668d79bd4ea920aeb418044782.jpg">
- D.<IMG src="//img1.yqda.net/question-name/1e/9fed1cf71456732a1bac5fe23a4fbe.jpg">
- A.向左下方
- B.铅直向下
- C.向右下方
- D.水平向左
- A.<IMG src="//img1.yqda.net/question-name/41/f48dbad1f1f761dabed7fd7335fba1.jpg">
- B.<IMG src="//img1.yqda.net/question-name/84/495c162ba740bd33aac88dc2d89730.jpg">
- C.<IMG src="//img1.yqda.net/question-name/eb/e3ed6240724e28d70a33a0a586f148.jpg">
- D.<IMG src="//img1.yqda.net/question-name/01/20807c1379244787e9eff933de8695.jpg">
- A.<IMG src="//img1.yqda.net/question-name/7a/074057363c1e6b53b6b87628d8bc07.jpg">
- B.<IMG src="//img1.yqda.net/question-name/c5/beca88db5e1c81d3b7754631ea9d2c.jpg">
- C.<IMG src="//img1.yqda.net/question-name/46/3db72d588e02a5f71637a1b132dc30.jpg">
- D.<IMG src="//img1.yqda.net/question-name/00/6319f3bd71f5619bcf2e914f6ac004.jpg">
- A.<IMG src="//img1.yqda.net/question-name/a9/2d4fc4c3176244aadb0cbd8f95ed28.jpg">
- B.<IMG src="//img1.yqda.net/question-name/fc/627e9c5f59c7e2a8527683eb5a6709.jpg">
- C.<IMG src="//img1.yqda.net/question-name/77/3844bef0a9a5d4bf45bab2dda39805.jpg">
- D.<IMG src="//img1.yqda.net/question-name/32/495ea44dfe965a3b3b5cfcc137a845.jpg">
- A.若两个点的全加速度矢在某瞬时相等,则该瞬时两点的速度大小必相等
- B.若两个点的全加速度矢在某段时间内相等,则这两点的速度在这段时间内必相等
- C.全加速度较大的点,其切向加速度一定较大
- D.全加速度较大的点,其法向加速度一定较大
- A.<IMG src="//img1.yqda.net/question-name/74/c766c8a130afdc0356191dde5a47e0.jpg">
- B.<IMG src="//img1.yqda.net/question-name/a8/121792f4c3ca580b406c5d6155820c.jpg">
- C.M/a
- D.-M/a
- A.∑m<SUB>x</SUB>=2Pa,∑m<SUB>y</SUB>=2Pa,∑m<SUB>z</SUB>=Pa
- B.∑m<SUB>x</SUB>=2Pa,∑m<SUB>y</SUB>=-Pa,∑m<SUB>z</SUB>=Pa
- C.∑m<SUB>x</SUB>=Pa,∑m<SUB>y</SUB>=-2Pa,∑m<SUB>z</SUB>=Pa
- D.∑m<SUB>x</SUB>=2Pa,∑m<SUB>y</SUB>=-2Pa,∑m<SUB>z</SUB>=2Pa
- A.φ≥30°
- B.φ≤30°
- C.φ≥15°
- D.φ≤15°
- A.向A、B两点简化都得到一合力
- B.向A、B两点简化都得到一力偶
- C.向A、B点简化得到一合力,向月点简化得到一力偶
- D.向A、B两点简化所得主矢和主矩都相等,且都不为零
- A.P大于某一值时能平衡
- B.P大于零时能平衡
- C.P为任何值时都能平衡
- D.P为任何值时均不能平衡
- 71
-
的正确命名是( )。
- A.4,4-二基-2戊醇
- B.2,2-二甲基-4戊醇
- C.2-羟基-4,4-二甲基戊醇
- D.2,2-二甲基-4-羟基戊烷
- A.-50N·cm
- B.ON·cm
- C.-35.355 N·cm
- D.35.355 N·cm
- A.沿水平方向
- B.沿铅垂方向
- C.沿A、D连线
- D.无法判断
- A.NaCl
- B.CaCl<SUB>2</SUB>
- C.H<SUB>2</SUB>O
- D.SiC
- A.取代反应仅限于烷烃上的氢原子被其他原子或原子团替代的反应
- B.苯的氯化、硝化和烷基化都属于取代反应
- C.有机化学中,氧化反应一般是指分子中加氧或去氢的反应
- D.不饱和烃可发生加成反应
- A.N<0<P
- B.0<N<P
- C.P<N<0
- D.P<O<N
- A.H<SUB>2</SUB>O
- B.CHCl<SUB>3</SUB>
- C.BF<SUB>3</SUB>
- D.PCl<SUB>3</SUB>
- A.n=2,l=1,m=-1
- B.n=2,l=0,m=-1
- C.n=3,l=1,m=0
- D.n=3,l=0,m=0
- A.9.40
- B.4.75
- C.4.60
- D.9.25
- A.<IMG src="//img1.yqda.net/question-name/2f/8109391eb08e942e09a6d1468cd86c.jpg">
- B.<IMG src="//img1.yqda.net/question-name/ea/c06790a2555ff689363d07b3c0e8c1.jpg">
- C.<IMG src="//img1.yqda.net/question-name/03/554650d82943cb866c0a46b6a3d2fe.jpg">
- D.<IMG src="//img1.yqda.net/question-name/95/3e5965210be3bd50149036639d116c.jpg">
- A.1.0
- B.1.5
- C.2.0
- D.1.3
- A.<IMG src="//img1.yqda.net/question-name/cf/f6af8ca8c5510feea67a83794da565.jpg">
- B.<IMG src="//img1.yqda.net/question-name/73/c078a540c117f7e590f3a8338be250.jpg">
- C.<IMG src="//img1.yqda.net/question-name/a4/66d354b9363689b1601f3b353e4bc1.jpg">
- D.<IMG src="//img1.yqda.net/question-name/50/4e63fa1586b9cbc921d455e4a050e6.jpg">
- A.反应物或产物的浓度为单位浓度时的反应速率
- B.所有反应物的浓度都是单位浓度时的反应速率
- C.上面两个定义是一致的
- D.反应速率是随反应物浓度增加而线性增加的比例常数
- A.I<SUB>0</SUB>/4
- B.3I<SUB>0</SUB>/8
- C.3I<SUB>0</SUB>/32
- D.I<SUB>0</SUB>/16
- A.变小
- B.变大
- C.不变
- D.无法确定
- A.动能为零,势能最大
- B.动能为零,势能为零
- C.动能最大,势能最大
- D.动能最大,势能为零
- A.2,3,4,5…
- B.2,5,8,11…
- C.2,4,6,8…
- D.3,6,9,12…
- A.波源不动时,波源的振动周期与波动的周期在数值上是不同的
- B.波源振动的速度与波速相同
- C.在波传播方向上的任一质点的振动位相总是比波源的位相滞后
- D.在波传播方向上的任一质点的振动位相总是比波源的位相超前
- A.<IMG src="//img1.yqda.net/question-name/e0/0acbe47e0412e1e13afda0cd42ecf1.jpg">
- B.<IMG src="//img1.yqda.net/question-name/d7/b4fc45a0dcb3a260494499a20f9ade.jpg">
- C.<IMG src="//img1.yqda.net/question-name/a9/8e54f3199d2add0310b1421e9389e5.jpg">
- D.<IMG src="//img1.yqda.net/question-name/07/f561e1832ba22be314504917ecec4f.jpg">
- 91
-
利用玻璃表面上涂一层折射率n=1.38的MgF2透明薄膜,可以减少折射率为n′=1.60的玻璃表面的反射。当波长为λ=500nm的单色光垂直入射时,为了实现最小的反射,则此透明薄膜的最小厚度为( )。
- A.300nm
- B.5 nm
- C.1050nm
- D.99.6nm
- A.(n-1)d
- B.2(n-1)d
- C.2nd
- D.nd
- A.使屏靠近双缝
- B.使两缝的间距变小
- C.把两缝的宽度稍微调窄
- D.改用波长较小的单色光源
- A.总是保持系统熵不变
- B.总是沿着半无序减少的方向进行
- C.总是由包含微观状态数目多的宏观状态向包含微观状态数目少的宏观状态进行
- D.总是由几率小的状态向几率大的状态进行
- A.<IMG src="//img1.yqda.net/question-name/62/0032330efbd9bf37e6a4cc0e1420f9.jpg">
- B.<IMG src="//img1.yqda.net/question-name/4a/65bcae22528a04ab92d2664c3cd3fe.jpg">
- C.<IMG src="//img1.yqda.net/question-name/ee/773c959af06d3715a2b0bd4ac6afff.jpg">
- D.<IMG src="//img1.yqda.net/question-name/cf/a4403ed3d32c5a3ed6d2f0de991d57.jpg">
- A.n不同,ρ不同
- B.n不同,ρ相同
- C.n相同,ρ不同
- D.n相同,ρ相同
- A.<IMG src="//img1.yqda.net/question-name/6c/b8375de07e2f0fa9fab0b33deb18ce.jpg">
- B.<IMG src="//img1.yqda.net/question-name/f8/6af1a0c01bb5242523d6e0397a5599.jpg">
- C.<IMG src="//img1.yqda.net/question-name/38/b115daa8cf7a75255f377a4a7e5a8d.jpg">
- D.<IMG src="//img1.yqda.net/question-name/8f/941ff6f2d3c0b93b48ad3de67eadf0.jpg">
- A.0≤φ(x)≤1
- B.φ(x)在定义域内单调不减
- C.<IMG src="//img1.yqda.net/question-name/5b/edbc6cb8ea4bc4d772aa84462cf71f.jpg">
- D.<IMG src="//img1.yqda.net/question-name/c3/50a7f253cb34c367112723ac36fdf1.jpg">
- 99
-
设x的概率密度

- A.1
- B.1/3
- C.2/3
- D.1/4
- A.0
- B.1
- C.2
- D.3
- A.3/8
- B.1/2
- C.5/8
- D.2/3
- A.<IMG src="//img1.yqda.net/question-name/27/bd0c3d4213a6b9aad3dc50ad12c288.jpg">
- B.<IMG src="//img1.yqda.net/question-name/cc/8acc25528824749f7106d745df126d.jpg">
- C.<IMG src="//img1.yqda.net/question-name/c5/727ded176e00db23b9c736de3882f1.jpg">
- D.<IMG src="//img1.yqda.net/question-name/2a/b3440dfab10ed024e435915b4c7a8a.jpg">
- A.-2<SUP>n+1</SUP>
- B.(-1)<SUP>n</SUP>2<SUP>n+1</SUP>
- C.(-2)<SUP>n+1</SUP>
- D.-2<SUP>2</SUP>
- A.<img src="//img1.yqda.net/question-name/1d/f24cb911b947cd320a5ea97a84835a.jpg">
- B.3(A-2E)
- C.<img alt="" src="//img1.yqda.net/question-name/01/fe37722d519014e177558a1270772d.gif" align="" border="0px">
- D.<img src="//img1.yqda.net/question-name/19/57bc5526f0cc9a3a3878495485d08f.jpg">
- A.y=csin x
- B.y=ccos x
- C.y=sin x
- D.y=cos x
- A.(c<SUB>1</SUB>cos 2x+c<SUB>2</SUB>sin 2x)e<SUP>-x</SUP>
- B.c<SUB>1</SUB>e-xcos 2x+ c<SUB>2</SUB>
- C.c<SUB>1</SUB>e-xsin 2x+c<SUB>2</SUB>
- D.c<SUB>1</SUB>cos 2x+c<SUB>2</SUB>sin 2x
- A.<IMG src="//img1.yqda.net/question-name/d3/b039b8c391f6fbbf8589c32ec78d0d.jpg">
- B.<IMG src="//img1.yqda.net/question-name/72/b894e4bf8b9517b98a37bcf7a4fc57.jpg">
- C.<IMG src="//img1.yqda.net/question-name/ed/a3e0ef5698c1a57e1fb52fa211a12e.jpg">
- D.<IMG src="//img1.yqda.net/question-name/55/7c31db486f2e974e32cfd525516ff3.jpg">
- 108
-
级数
的收敛域为( )。
- A.<IMG src="//img1.yqda.net/question-name/d0/19320a0358618b9541fe26debdc342.jpg">
- B.<IMG src="//img1.yqda.net/question-name/40/0ef85203319b2f8009d07d6f9ab370.jpg">
- C.<IMG src="//img1.yqda.net/question-name/d3/52d102604b8c927805f1d58a028526.jpg">
- D.<IMG src="//img1.yqda.net/question-name/be/52ebf1f301a195eea24c9c5a5acbbe.jpg">
- A.1
- B.2/3
- C.1/2
- D.2/5
- A.<IMG src="//img1.yqda.net/question-name/ab/b36f708f994e372ac83f4115cf077d.jpg">
- B.<IMG src="//img1.yqda.net/question-name/d4/fe5d5f8100cf793abed69de69d62dd.jpg">
- C.<IMG src="//img1.yqda.net/question-name/88/49a5a4740d6577d4039400ec09f0aa.jpg">
- D.<IMG src="//img1.yqda.net/question-name/33/fd3e5b1af305e136b70929018e9629.jpg">
- A.<IMG src="//img1.yqda.net/question-name/02/58a9a8821d4558c7c088b62ce067ca.jpg">
- B.<IMG src="//img1.yqda.net/question-name/6f/15a23cde3c8b3d1169f9ab47268488.jpg">
- C.<IMG src="//img1.yqda.net/question-name/c1/e9188300a9ad93a027f2d5778aa5dc.jpg">
- D.<IMG src="//img1.yqda.net/question-name/12/edcf30a01ae32ebf7d0332f75cdefe.jpg">
- A.5000 J
- B.6000 J
- C.5880 J
- D.6880 J
- A.<IMG src="//img1.yqda.net/question-name/4d/85e58f8422e81ea53c2a459a038324.jpg">
- B.-sin x +C
- C.xsin x +C
- D.<IMG src="//img1.yqda.net/question-name/d7/bb3850ff0c3b4522bbe74b585f01dd.jpg">
- 116
-
函数
极值情况为( )。
- A.只有极大值f(1)=<1/2
- B.只有极小值f(-1)=-1/2
- C.有极大值f(1)=1/2,并有极小值f(-1)=-1/2
- D.无极值
- A.xe<SUP>x</SUP>
- B.xe<SUP>x</SUP>+e<SUP>x</SUP>
- C.xe<SUP>x</SUP>+e<SUP>x</SUP>-1
- D.xe<SUP>x</SUP>+e<SUP>x</SUP>+1
我
































的正确命名是( )。







的收敛域为( )。



极值情况为( )。





